US20190295733A1
發明人:薩瓦托· 派斯
現任專利所有權人:美國海軍部長
摘要
本專利是一種電漿壓縮核融合裝置。它包括一根中空導管和至少一組對立安裝而且旋轉方向相反的動態核融合反應爐。中空導管內有一個的真空腔。每個動態核融合反應爐有多個孔洞和帶電的外層。當兩種零件結合在一起之後,動態核融合反應爐組會在真空腔內產生集中的磁通能量和電磁輻射。集中的磁通能量會壓縮從孔洞注入真空腔的氣體混合物,從而產生一個電漿核心。電磁輻射加熱電漿核心,而產生的磁場將電漿核心拘束在動態核融合反應爐之間。當額外的氣體混合物透過孔洞注入到核心之後,核心輸出的能量就會大於輸入的能量。
描述
政府利益聲明
本文所述的發明可由美利堅合眾國政府基於公務用途製造和使用,而且從過去到未來都無需支付任何使用授權費。
專利背景
熱核融合是將小原子序的原子核強行聚集在一起,進而形成一個較重的原子核。
根據E=mc2公式,減少的質量減少會變成能量。核融合是在極高的溫度下發生的。核融合反需要的溫度超過太陽的核心溫度(約攝氏1500萬度)。例如,重氫和超重氫融合反應需要的溫度超過攝氏1.75億度,兩個重氫的核融合反應需要大約攝氏2.32億度。氣體在極高的溫度和壓力下會電離並形成電漿,也就是大量的電子和正離子(≥10的20次方公尺)組成的集合體。它們不斷地相互作用,交換能量。
為了使正離子發生融合,目前有三種主要的電漿拘束方法:引力局限、慣性局限和磁局限。引力局限需要恆星大小的質量,因此慣性局限和磁局限是唯二實用的方法。慣性局限和磁局限混合使用也是一種可行的做法。慣性局限是利用雷射引發的內爆或電場(靜電)引發核融合。磁局限則是用極強的磁感應引發核融合。托卡馬克就是一種利用磁局限的核融合裝置。它利用強大的磁場把電漿拘束成一個環形結構,環形電漿會在三維空間中圍繞著與圓軸共面的線圈旋轉。其他零部件包括磁鏡、磁懸、磁針和磁化目標。
上述的電漿拘束方法都有嚴重的問題。例如:裝置的體積需要非常大(跟航空母艦差不多的大小)。托卡馬克裝置的電漿不穩定,功率耗損大、磁鏡/磁懸能達成的拘束時間短。迄今為止,這些拘束方法都不能實現融合反應的能量平衡(核融合反應輸出的能量等於輸入的能量),更別提達成點火(核融合反應的電漿燃燒不需要外部的能量就可以自行維持)。因此,我們需要一種有效的電漿壓縮核融合裝置,讓輸出的能量大於輸入的能量。
總結
電漿壓縮核融合裝置包括一根中空導管和至少一組對立安裝而且旋轉方向相反的動態核融合反應爐。中空導管內有一個的真空腔。每個動態核融合反應爐有多個孔洞和帶電的外層。當兩種零件結合在一起之後,動態核融合反應爐組會在真空腔內產生集中的磁能量流和電磁輻射。集中的磁能量流會壓縮從孔洞注入真空腔的氣體混合物,從而產生一個電漿核心。電磁輻射加熱電漿核心,而產生的磁場將電漿核心拘束在動態核融合反應爐之間。當額外的氣體混合物透過孔洞注入到核心之後,裝置內的能量就會增加。
本發明的特點是提供一種電漿壓縮融合核裝置,也就是透過利用壓縮電漿造成的核融合反應發電,這種電漿壓縮融合核裝置可以把電漿的壓力和拘束時間提升到最大,讓反應爐內的能量提升到足以進行核融合點火。
這種電漿壓縮核融合核裝置可以產生十億瓦到兆瓦以上的電力。初始輸入電力則需要千瓦到百萬瓦。
譯註:目前全世界發電量最大的核電站是日本的柏崎刈羽核電站。7台核電機組的總發電量是821萬2000千瓦,相當於82億又1200萬瓦。福特號航空母艦的兩座A1B反應爐發電量是7億瓦。中國運行的核電機組共47台,總運行裝機容量約為487億5千1百萬瓦。
圖紙說明
本發明的特點、原理和優點將會透過下列的描述、附加的專利申請範圍和圖紙進行更詳細的解說:
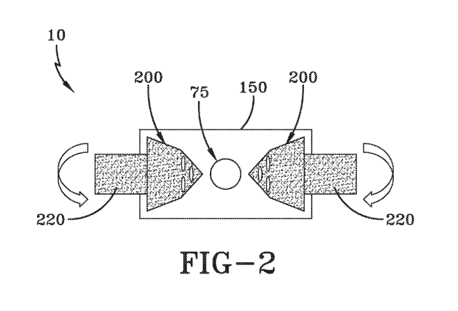
圖1是電漿壓縮核融合裝置當中十字導管配置的側剖面圖
圖2是電漿壓縮核融合裝置當中線性導管配置的側剖面圖
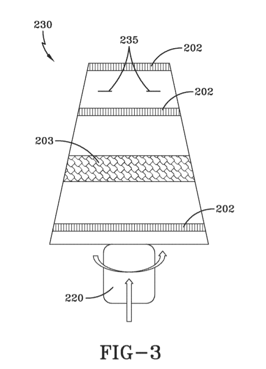
圖3是錐台形動態核融合反應爐的側剖面圖



描述
圖1-3可以用來解說本發明的較佳實施例。如圖1所示,在其中一個實施例中(十字導管結構),電漿壓縮核融合裝置包括中空十字導管和至少兩組位置對立、平滑彎頭的旋轉方向相反的錐形結構(動態核融合反應爐)。中空十字導管包括布置在中空十字導管內的真空腔。兩組安裝位置相反、平滑彎頭的、旋轉方向相反的錐形結構具有多個孔洞和帶電的外表層。兩組旋轉方向相反的錐形結構在真空腔內產生集中的磁通能量和電磁輻射。集中的磁通能量壓縮通過孔洞注入到真空腔內的混合氣體(核融合燃料),然後形成電漿核心。核心基本上是球形的、均勻的電子和正離子的集合體。電磁輻射加熱電漿核心。動態核融合反應爐產生的磁場把電漿核心拘束在兩組旋轉方向相反的錐形結構之間。當額外的混和氣體透過孔洞注入電漿核心之後,核心的輸出能量就會大於輸入能量。
本發明可以在太空、海洋以及陸地環境當中使用。然而,本發明適用於任何需要能源的使用環境。
如圖2所示,在本發明的另一實施例(線性導管結構),電漿壓縮核融合裝置可以只使用一組安裝方向相反、平滑彎頭的、旋轉方向相反的錐形結構並且以線性結構安裝在中空線性導管內。本發明利用平滑且快速的瞬間加速振動/旋轉控制帶電物質的運動,進而產生極高的能量/高強度的電磁場。高能量/高強度的電磁場可以拘束並且大幅壓縮電漿,從而產生高功率密度的電漿燃燒;最後引發點火並且讓輸出的能量大於輸入的能量。
如圖1所示,本發明的較佳實施例包括兩組安裝位置相反、平滑彎頭的、旋轉方向相反的錐形結構;然而,本裝置可以利用兩組以上的錐形結構。錐形結構的通稱是動態核融合反應爐。反應爐的製造材料可以具有高電容的鎢合金(例如氮化鎢)或任何其他類型的金屬、合金或可行的材料。 每一個錐形結構的安裝位置相反而且有平滑彎曲的尖端截面以及輸電線路和環形磁線圈。每一個環形磁線圈需要安裝在至少兩組輸電線路之間並且排放在每個錐形結構之內。十字導管包括一個環繞在電漿核心的內層。導管內層需要帶電和振動,避免電漿粒子撞擊十字導管的管壁(特別是導管內層並且誘發電漿焠火。作為核融合燃料的混和氣體(建議使用重氫) 透過旋轉方向相反的錐形結構上的孔洞注入到電漿核心。錐形結構各自連結一根中空軸。加壓過的核融合混和氣體燃料從氣體儲存槽(未畫在圖紙中)透過中空軸注入到裝置。
在一個變化的實施例當中,動態核融核反應爐也也可以是圓頂狀或球狀。如圖3所示,動態核融核反應爐可以是共面的圓台或有一個等腰梯形截面的圓台。共面圓台的內部也包括好幾個孔洞和好幾組輸電線路(至少三組) 以及至少一個環形磁線圈。基本上,輸電線路內部會有好幾個孔洞。 在其他動態核融合反應爐的實施例中。每一個錐形圓台都有一個帶電的外層。每一個環形磁線圈必須安裝在兩條輸電線路之間。輸電線路用來電離重氫氣(或其他氣態的核融合燃料)。輸電線路按照一條正電壓,一條負電壓的方式組裝。電位差可以讓電子或離子加速進入電漿核心。加速電子或離子根據使用者想要的物理效果而定。粒子加速的方式類似於離子推進器。
所有動態核融合反應爐的實施例都可以按照線性、十字或其他可行的結構組裝。在動態核融合反應爐的實施例當中,動態核融合反應爐的旋轉方向會產生保持方向朝電漿核心的磁通量動態核融合反應爐像是粒子加速器一樣,讓環形磁線圈以及動態核融合反應爐周圍的電子加速移動。這些電子會透過一個帶正電,另一個帶負電的輸電線路加速。這兩個輸電線路都可以變換電荷。通往電漿核心的電位差會形成一個深(高能)負電位阱。負電位阱可以加速吸引正電的離子。隨著離子持續在電位阱周圍反覆循環,它們就會開始進行核融合反應。電子和帶正電的離子在激烈碰撞後使得燃料氣體變成羽狀雲。羽狀雲在漩渦中碰撞會形成高溫、高壓、高黏滯加熱的電漿核心為了用極高的溫度加熱電漿核心並且達成核融合反應,表面帶電的動態核融合反應爐會透過加速旋轉形成高強度的電磁輻射。動態核融合反應爐的內層經過良好的絕緣處理,以承受電荷移動。內層的材料可以是但不限於碳化矽、氮化硼或炭化硼絲。動態核融合反應爐的製造材料建議使用鎢合金(例如但不限於氮化鎢) 之類可以承受至少1庫侖的高電容材料。每一個動態核融合反應爐要安裝在中空軸的上方。中空軸是用來注入核融合燃料的導管。這個中空燃料導管連結著一台直流變速馬達(未畫在圖紙中)。中空軸可以在旋轉過程中透過數位調速器(未畫在圖紙中)加速和減速。
為了讓核融合反應發生,我們必須遵守勞森準則;
nTτ E≥3×1021KeV s/m 3 (公式 1)
n代表電漿密度。 T代表電漿溫度。 τE 代表能量拘束時間。公式1說明:電漿壓力越大,拘束時間越長,核融合產生的能量就越大。公式1當中的等號代表能量達成平衡的條件。若能量增長值為1,代表反應爐輸出的能量等於輸入的能量。值得注意的是,如果磁場的強度加倍(單位是特斯拉)加倍而其他達成核融合的其他參數設為常數,裝置的線性尺寸就可以減半。因此,高電磁感應(磁通密度)是可攜式核融合裝置的核心研究重點。
電漿磁局限需要高強度的磁場才能達成核融合反應。下列有兩條公式可以表達高強度磁場的重要性:
能量增加級數˜B 3 (公式2) 和核融合功率密度P2 ˜B 4 (公式3)
P 代表電漿密度。B代表電磁感應或磁通密度,前提是電漿壓力比值和磁場壓力比值保持一致。,
目前已經有人在構想小型的可攜式核融合反應爐/裝置(直徑30公分至2公尺)。通常他們使用不同版本的電漿磁局限技術。三種小型可攜式核融合裝置包括洛馬公司臭鼬工廠的可攜式核融合反應爐(LM-CFR)、質能互換波利威爾核融合概念機(EMC2 Polywell fusion concept)以及普林斯頓磁場反轉位形機( Princeton Field-Reversed Configuration (PFRC) machine.)
洛馬公司臭鼬工廠的可攜式核融合反應爐使用磁鏡結構。反應爐本身是一個的環形線圈。它利用可變電流形成可以加熱拘束電漿的磁振盪場。波利威爾裝置採用複合式的電漿拘束和加熱技術。 它在多面體的雙椎磁鏡懸結構內同時採用慣性靜電局限和磁局限。普林斯頓磁場反轉位形機利用獨特的電波頻率加熱技術形成一個用來拘束電漿的旋轉磁場。這些裝置的電漿拘束時間都不長。裝置體積越大,電漿的穩定程度就越低。這三種裝置是否能達成能量平衡都是未知數,更別提利用自行維持的電漿燃燒達成點火狀態。
達成核融合反應的關鍵在於達成極強的磁場,強度可能要超過30特斯拉。這是目前連稀土鋇銅氧高溫超導磁鐵都不一定能穩定形成的強磁場。然而,我們可以利用快速的瞬間旋轉和振動控制帶電物質的運動,進而產生極強的磁場。
電漿壓縮核融合裝置利用平順但是快速的瞬間加/減速的旋轉和振動控制帶電物質的運動,進而形成超高能量/超高強度的電磁場。這些電磁場可以拘束並且透過製造高能負電位阱大幅度壓縮電漿核心。電漿核心因而進行高功率密度的燃燒,進而進入點火狀態。高強度的電磁輻射會加熱電漿核心,電磁場則把核心拘束在動態核融合反應爐之間。導管內層需要帶電並且振動,以避免電漿粒子撞擊導管內層並且啟動電漿焠火。振動可以透過朝鋯鈦酸鉛之類的壓電薄膜通電來達成。壓電薄膜要嵌入在電漿壓縮核融合裝置的內層電漿壓縮核融合裝置應該放置在法拉第籠內,以確保使用者的安全。 一個10-15公分厚的碳化物(或鎢合金)可以用來製作法拉第籠,也可以用來安裝熱能轉換循環用的冷卻管道。 碳化物或鎢合金也可以提供裝置必要的結構支撐,抵擋核融合產生的中子轟擊裝置。 核融合裝置需要減少或盡可能壓制動態核融合反應爐產生的剪流。 剪流會破壞渦流,影響電漿內部的擾動。剪流是導致電漿在核融合過程中發生不穩定的的主要原因。
核融合產生的輸出電能可以透過與電漿壓縮核融合裝置外壁(可以是導管的外層)齊平的共形熱交換器(未畫在圖紙中)汲取並且透過水或聚α-烯烴等 冷卻液將中子產生的熱能帶到熱核發電機。 啟動用的混和氣體和後續添加的混和氣體(兩種都要是核融合燃料,建議使用重氫)透過動態核融合反應爐的孔洞注入電漿核心我們可以從海水中提煉幾乎無窮無盡的氘 (重氫)。這對本發明來說是一個極大的利多。
核融合燃料 (混和氣體和後續添加的混和氣體)可以是中子核融合或氣動核融合燃料。中子核融核燃料可以是重氫-超重氫、重氫-重氫、重氫- 氙的混合氣體或任何可行的混和氣體。啟動用的的混和氣體以及後續添加的混和氣體應該是同樣的化學成份。重氫- 氙的混合氣體可以產生氙-129並且釋放兩個快(高能)中子,進而大幅增加裝置的能量輸出。然而,快中子會損耗裝置材料內壁而且增加輻射的生成量。使用者需要從實用層面和安全層面考量是否要使用重氫- 氙的燃料組合。
氣融核融合燃料可以採用質子- 硼11(硼的同位素)或其他形式的組合。 (氣動核融合需要的融合溫度是中子燃料的10倍) 氣動核融合不會釋放中子,因此沒有輻射相關的安全風險。氫-硼燃料產生伽馬射線的機率是千分之一,可是在裝置全力運轉的情況下要多加注意。電漿壓縮核融合裝置產生的能量可以進行直接的能量轉換。使用氣動核融合燃料進行核融合之後可以從裝置進行直接能量轉換,因為氣動核融合燃料的產物是3個α粒子(氦-4)。 我們可以使用高科技的變壓器對帶電粒子進行直接的能量轉化。使用氣動核融合燃料的主要問題是它需要攝氏20億度以上的超高溫才能進行融合反應。這種溫度要求幾乎是中子燃料(例如重氫)的10倍。
當使用重氫當作核融合燃料的時候,會發生以下的化學反應:
2H+2H→3H(1.01 MeV)+p+(3.02 MeV)[50%] (公式4) 和
2H+2H→+3He(0.82 MeV)+n 0(2.45 MeV)[50%] (公式5).
我們可以直接從重氫的核融合反應汲取電能和熱能。這一點在實用層面是一個非常理想的能量來源。
電漿壓縮核融合裝置內部必須保持真空,核融合反應才能有效地產生能量。理想的真空條件是維持 10−5 托爾。如裝置的密封材質無法保持 10−5 托爾,也可以使用品質差一點的真空環境。
關於帶電物體/系統的加速振動或旋轉條件,下列公式可以幫助我們求得最大的電磁通量(電磁能量傳輸過每單位表面區域的改變速率) is:
S max =f G(σ2/ε0)[(R v v 2)t op] (公式6)
fG 是帶電系統的形狀因數 (碟狀結構的數值等於1)。 σ 代表表面帶電密度。 Co代表自由空間的電容率。 Rv 代表振動 (諧振) 振幅。 v代表赫茲振動的角頻率。在繞軸心旋轉的情況下,Rv 代表有效的系統半徑。v 代表旋轉的角頻率。 top 代表帶電系統在最大加速條件 (Rvv2)下的運行時間。這條封閉等式是結合古典電磁場理論和簡諧運動物理學所得出的結果。如果帶電系統快速地改變振動頻率/轉速(快速的瞬間加速),且加速的時間差不等於0,我們可以得出下列公式:
S max =f G(σ2/ε0)[(R v v 3)t 2 op] (公式7)
公式7表示即便中等速度的振動/旋轉頻率在快速加速之後,電磁通量也會大幅增強。此外,這個公式也體現出高能/高頻電磁產生器用來加熱電漿壓縮核融合裝置內部的拘束電漿所展現的廣泛用途。
我們帶入簡諧運動公式,並且令(bv)代表能量/動能-泵動(負阻尼),也就是系統加速的局部性;b是一個常數。v等於 (dx/dt),也就是振動質量 (m)的速度。振動系統的最大總能量 (ET) 可以用下列公式表達:
: E T ≈mR v 2Ω2[exp(2Ωt)] (公式8),
在[(b/2 m)>>Ω0 (自然的振動頻率)]的條件下,Ω代表振動的角頻率。t代表時間。由於電磁通量和ET成正比,我們觀察到振動加速可以讓電磁通量呈指數增加,在快速瞬間加速的條件下更是如此。
如果我們要用勞侖茲力表達牛頓第二運動定律,可以把振動的質量 (m) 和它的振動電荷(Q)連繫在一起。 m和兩者比率 (Q/Ω)的平方成正比 。將這個關係套入公式8可以得出:
S max≈(Q 2/ε0)(R v 2 /R s 5)Ω[exp(2Ωt)] (公式9).
公式9 代表我們可以透過按照上述的條件加快振動,進而達成最大電磁通量。電磁場會通過相同電荷 (Q)的振動質量 (m)的球形結構 (半徑1R) 。帶電裝置(十字或線性導管) 內壁振動必須進行監測,不能讓它的振動遠超過材料原本的振動頻率 。過大的振動會導致電磁通量呈指數增加,進而損害電漿核心、核融合裝置的結構完整性和操作上的安全。由於動態核融合反應爐的錐形結構,電漿液體和形成跟漩渦結構一樣的形狀。考量 (curl v=Avv)的無外力漩渦表達式,v 代表電漿液體的速度。 Av 是一個常數,在某些條件下會遠大於1。根據公式4的物理原理,我們可以得出下列公式:
B/R v˜curl B=A v B (公式10)
Rv 代表有效的漩渦半徑。如果 RR歸於0,作為磁場放大因數的 Av 在數學上就會趨近無窮大。 在物理學上,這代表電漿漩渦結構在電漿核心內的磁場強度被大幅放大。
每一個動態核融合反應爐的最大電磁感應量 (B) 和動態核融合反應爐旋轉角頻率之間的關係可以用下列公式表達:
B MAX≈μ0 σR ωω3 t op 2 (公式11)
μ0 代表自由空間 (˜O(10−6))的磁導率。 σ 代表錐形結構的表面通電密度。 Rω 代表動態核融合反應爐的有效旋轉半徑。top 代表最大旋轉加速的運行時間。在 μ0σRωtop 2˜O(1)的一致條件下,我們可以得出 BMAX˜ω3。 換句話說,最大磁通密度等於錐形結構的角旋轉頻率的三次方。
在實驗室內進行的測試當中,直徑10公分的碟形物體接受每分鐘100,000 轉的結構測試。離心力並沒有對結構造成明顯的損傷。因此用鎢製造的動態核融合反應爐一定可以承受104弧度每秒(每分鐘1000轉)的轉速。這代表我們可以透過加速旋轉表面帶電的錐形結構達到106特斯拉的BMAX 值,前提是加速的時間差不等於0 (平穩但是快速的加速。不需要突然/猛烈的加速)。 根據本發明人發表並且通過同行評審的技術論文,這種高強度的磁場數值是可行的(技術論文 AIAA 2017-5343 和技術論文 SAE 2017-01-2040)。
按照公式2,核融合反應產生的能量倍增了10的18次方,代表電漿核心在上述的條件之下非常可能進入點火狀態,達成自行維持的電漿燃燒。按照這個簡單的分析,本發明利用千瓦到百萬瓦的輸入電力產生十億瓦到兆瓦以上的輸出電力,而且還可能達成點火狀態。點火狀態代表本發明具有可行性。
在本發明的較佳實施例當中, “a,” “an,” “the,” and “said” 代表發明有一種以上的組件。”組成”、”包括”、”有”代表可能有額外的組件。
雖然本發明透過某些較佳實施例的大量細節進行說明,其他的實施例也是可能的。因此,附加的專利申請範圍應該不限於申請書當中描述的較佳實施例。
專利申請範圍
1.一台電漿壓縮核融合裝置包括下列零組件:
一根內部有真空腔的線性導管;兩個一組的、平滑彎頭的,旋轉方向相反並且安裝在中空線性導管內的錐形結構。錐形結構上有許多孔洞和一個帶電的外層。這一組錐形結構會在真空腔內形成集中的磁通能量和電磁輻射。真空腔內會形成電漿核心。電磁輻射會加熱電漿核心,磁場則會把電漿核心拘束在旋轉方向相反的錐形結構之間。當額外的混和氣體透過孔洞注入到電漿核心,裝置輸出的能量就會大於輸入的能量。
2.一台電漿壓縮核融合裝置包括下列零組件:
一根內部有真空腔的中空十字導管;中空十字導管導管內至少有兩組安裝方向相反,平滑彎頭的,旋轉方向相反的圓錐結構。每一個錐形結構有許多孔洞和帶電的外層。所有的錐形結構會在真空腔內共同形成一個集中的磁通能量和電磁輻射。集中的磁通能量會壓縮透過孔洞注入到真空腔的混和氣體,從而形成電漿核心。電磁輻射會加入電漿核心,磁場則會把電漿核心拘束在旋轉方向相反的錐形結構之間。當額外的混和氣體透過孔洞注入到電漿核心,裝置輸出的能量就會大於輸入的能量。
3.在申請範圍2的電漿壓縮核融合裝置當當中,電漿壓縮核融合裝置還包括連結錐形結構的中空軸。 混和氣體從氣體儲存槽從中空軸注入到裝置。
4.一台電漿壓縮核融合裝置包括下列零組件:
一根內部有真空腔的中空十字導管;中空十字導管內至少有兩組錐形圓台。每一個錐形圓台有許多孔洞和一個帶電的外層。 錐形圓台會共同形成一個會在真空腔內共同形成一個集中的磁通能量和電磁輻射。集中的磁通能量會壓縮透過孔洞注入到真空腔的混和氣體,從而形成電漿核心。電磁輻射會加入電漿核心,磁場則會把電漿核心拘束在旋轉方向相反的錐形圓台之間。當額外的混和氣體透過孔洞注入到電漿核心,裝置輸出的能量就會大於輸入的能量。,
5.在申請範圍4當中的電漿壓縮核融合裝置ㄉ中,每一個錐形圓台內部包括好幾組輸電線路和至少一個環形磁線圈。環形磁線圈要安裝在兩條輸電線路之間。
原文:
https://patents.google.com/patent/US20190295733A1/en?inventor=Salvatore+Pais
翻譯:Patrick Shih
團隊目前有推展許多的活動,如:建設全球光網格、真相揭露/外星/靈性講座、實體聚會、管理多種媒體及訊息傳遞平台及人員培訓—等。各類工作及活動仍需金錢來協助推動。
如果您支持事件也希望地球重獲自由,請和我們一起努力,或是支持我們:
捐款連結:http://golden-ages-donate.org
微信隨喜打賞

本文出處網址: https://www.golden-ages.org/2020/05/31/0531-01/
轉載內容請保持內容完整並附上本文出處網址
