US20170313446A1
發明人:薩瓦托· 派斯
現任專利所有權人:美國海軍部長
摘要
一台利用慣性質量減少裝置的飛行器包括下列的零部件:一個內共振腔壁、一個外共振腔和微波發射器。帶電荷的外共振腔和絕緣的內共振腔共同形成一個共振腔。微波發射器朝共振腔發射好幾道高頻電磁波,導致共振腔加速振動並且在外共振腔之外形成局部真空極化。
描述
政府利益聲明
本文所述的發明可由美利堅合眾國政府基於公務用途製造和使用,而且從過去到未來都無需支付任何使用授權費。
專利背景
世界上有四種控制物質,也就是控制能量的基本力。這四種已知的基本力是強核力、弱核力、電磁力和重力。在這四種基本力當中,電磁力可以影響其他三者。靜電荷可以變成電(靜電)場。移動的電荷可以產生電場和磁場(電磁場)。加速電荷可以產生橫波的電磁輻射,也就是光。在數學和物理領域,電磁場強度可以表示為電場強度和磁場強度的乘積。 電磁場可以是能量和動量的載體,因此可以在最根本的層面和其他物理現象互動。
人工製造的高能電磁場,例如利用高能電磁場產生器生成的電磁場跟真空能量態有很強的互動作用。真空能量態是一種量子波動場域疊加形成的聚集/集合狀態。量子波動場域貫穿所有時空,無處不在。物體與真空能量態的高能互動可以形成出人意料的物理現象,例如力和物質場統合。根據量子場理論,場之間的強作用是基於場之間的振動能量傳遞機制。振動能量的傳輸進一步在鄰近的量子場引發波動 (這些場的性質不見得是電磁場)。物質、能量和時空都是從真空能量態的基本框架浮現的產物。
我們身邊一切的人事物,包括我們自己都是一種量子力場波動、振動、震盪的宏觀集合體。物質是被力場束縛並且在時間定量中凍結的稠密能量。因此在某些條件下(例如讓帶電系統進行超高速繞軸旋轉和超高頻振動),量子場域的某些特殊效應也可以適用在宏觀物理領域(宏觀量子現象)
更重要的是,結合超高速迴旋(繞軸旋轉)和超高頻振動古典電磁學有助於我們達成物理學的突破:利用人工生成的宏觀量子波動真空電漿場(量子真空電漿)當作能量來源或能量通道。
量子真空電漿是電漿宇宙的電子黏膠。卡西米爾效應、蘭姆位移和自發輻射都可以證明量子真空電漿存在。
電磁場最強的的區域當中,物質跟量子真空電漿的互動越多,量子真空電漿粒子就越容易進入現實世界(從電子和正電子的狄拉克之海)並且形成更高的能量密度。量子真空電漿可以增強高能電磁場產生器的能量等級並且進行能量通量增強。
一旦我們突然打亂局部時空(局部真空能量態),就可能減少物體的慣性質量,進而減輕物體的重量。這種作法等於是快速大幅偏離熱力學平衡(透過突然改變狀態/相位轉換打破對稱系統)。減少慣性質量的物理學原理是基於局部真空極化狀態產生的負壓力(排斥性重力)。局部真空極化狀態則需要結合超高頻振動和一個帶電系統/物體的超高速繞軸旋轉。這種狀態會在系統/物體周圍發生作用。換句話說,我們可以透過操控最靠近物體/系統的局部真空態的量子場波動,進而減少慣性質量,一旦我們把移動中的飛行器周圍的真空態極化,就可以減少飛行器的慣性。
局部真空的極化類似操控/改變局部空間拓撲點陣的能量密度。我們可以利用這種原理讓飛行器用極快的速度飛行。
如果我們可以控制局部量子真空態的結構,我們就可以從最根本的層面操控我們生活的現實。(從而影響慣性和重力的物理法則) 。航太推進和能源產業可以藉此獲得重大的進展。
用來描述高能電磁場產生器最大強度的物理公式是坡印廷向量的規模。三種運動模式在非相對情況下可以用下列公式表達:
S max =f G(σ2/ε0) [R r ω+R v v+v R] (公式 1)
fG是高能電磁場產生器的幾何形狀係數 (碟形結構的係數等於1)。σ代表表面電荷密度 (總電荷除以高能電磁場產生器的表面積)。ε0代表自由空間的電容率。Rr代表旋轉半徑 (碟狀半徑)。ω代表旋轉的角頻率,單位是弧度每秒。Rv代表振動(諧振) 振幅。v代表振動的角頻率,單位是赫茲。vR代表曲線轉化速度(透過連結高能電磁場產生器的推進單元獲得。推進單元可以是化學火箭、核動力、磁-電漿-動態單元(可變比沖磁電漿體火箭)
如果我們只讓碟形結構旋轉。 σ=50,000 庫侖/平方公尺。一個半徑2公尺的碟狀結構用每分鐘30,000轉的角速度旋轉(繞軸轉動),電磁場強度 (Smax代表每單位面積的能量流通率,也就是能量通率)的數值是 1024瓦/平方公尺(這種數值不會造成任何的量子真空電漿互動).
如果我們結合高速旋轉和高頻振動(諧振)並且把振動頻率設在109 到1018赫茲(以上),Smax的強度數值可以達到1024 到1028 瓦/平方公尺(以上)。這種極高強度的電磁場特別適合用來設計發電機,因為利用這種原理設計的發電機擁有市面上的發電機都達不到的超高功率輸出。
假設振動的角頻率加速為(amax=Rvv2)並且忽略旋轉和曲線轉換,公式1就會變成下列的形式(注意加速度固有的重要性):
S max =f G(σ2/ε0) [(R v v 2) top] (公式 2)
top 代表帶電系統加快振動的運作時間。
一旦我們仔細觀察公式2,就能實現一個重要的成就:在實驗室環境中與量子真空場的波動疊加(宏觀真空能量態)進行強局部互動。一旦最小帶電的物體(表面電荷量一致)進行超高速迴旋(繞軸旋轉)和/或高頻振動,就可以達成高強度的局部真空能量極化。
為了說明這個事實,我們假設高端微波是1011赫茲,表面電荷密度1庫侖/每平方公尺,運作時間和振幅相反。根據公式2,我們可以獲得1033 瓦/平方公尺的能量通量。這種異常高的功率強度可以引發電子-正電子如雪崩般大量成對生成,進而達成完整的局部真空態極化。
一旦搭載高能電磁場產生器的飛行器在機身周圍發生局部真空極化,高能和隨機量子場的波動就會發生黏合效應,進而阻擋飛行器的加速飛行路徑。黏合效應導致真空極化產生負壓,進而讓飛行器更容易飛行。(這是H. David Froning的發現)
從真空同時成對生成的電子-正電子代表真空極化正在形成。 根據諾貝爾物理學獎得主-朱利安·施溫格的計算:如果要發生局部真空極化,電場的強度需要1018 伏特/公尺。電子-正電子對的質量產生率(dm/dt)pp 可以用Smax(能量通量)表達。我們可以得到下列公式:
2γ(dm/dt)pp c 2 =S max A S (公式 3)
AS代表能量通量產生的表面積。c是自由空間的光速。γ代表相對拉伸係數 [1(v2/c2)]−1/2。飛行器產生的電磁場越強,電子-正電子的生成速率就越快。真空極化的程度和人工形成的電磁能量通量有密切的關連。真空極化越明顯,飛行器的運動就越容易。
如果我們要考慮飛行器周圍的邊界條件,也就是人工電磁場密度等於真空極化的局部能量密度(假設局部零點真空波動密度和與局部真空能量態互動的人工電磁場的能量密度皆為10-15 焦耳/立方公分),我們可以得到下列的約等式:
(S max /c)=[(h*v v 4)/8π2 c 3] (公式 4)
c 代表自由空間的光速。(h*)代表普朗克常數除以(2π)。(vv)代表量子波動在真空(作為諧振子)的頻率。假設公式4的左邊寫成 (ε0E2) ,E代表人工電磁場的強度。考量(E)的電子-正電子同乘成對產生的施溫格值,我們可以得出(vv)的數值是1022 赫茲。這個數值符合我們的預期。由於狄拉克電子-正電子虛對生成之後會完全湮滅然後產生伽馬射線。這種伽馬射線是電磁頻率是1019 .赫茲。
本發明人最近在國際太空科學和工程期刊發表的論文(Pais, S. C., Vol. 3, No. 1, 2015)探討在特殊相對論的框架之下實現超光速推進技術的可能性和條件。經研究之後發現在某些物理條件之下,就算載具達成光速(c),相對拉伸係數(gamma)表達的奇點也不會出現。這種條件包括在載具的速度達成一半光速的時候同時消除系統(載具)的能量-質量。作者在論文中探討使用奇異物質的(負質量/負能量密度)消除能量-質量的可能性。這可能不是唯一的作法。如果我們在載具周圍設置人工形成的重力波,同樣也可以達到能量-質量消除的效果(重力波是在重力場中傳遞的波動。重力波的振幅和頻率是質量運動的函數) 。
除此之外,真空極化也可以用來消除系統的能量-質量。哈羅德·帕特霍夫在論文中表示: 我們可以透過操控真空的量子波動場可以減少慣性質量(以及重量)。換句話說,一旦我們對移動中的載具的周圍環境進行真空極化,就可以減少載具的慣性,也就是載具啟動和加速的阻力。一旦載具沒有慣性的限制,就可以達到極快的速度。
真空能量態是一個隨機、集體量子場的高能波動組成的渾沌系統。根據伊利亞·普里高津對非熱力學平衡的研究 (普里高津效應):一個渾沌系統在三個條件下會自我組織。
1.系統必須是非線性。
2.它必須突然偏離熱力學平衡。
3.它必須有能量通量(從渾沌生成的秩序) 。
人工產生的高能/高頻電磁場(例如利用高能電磁場產生器生成的電磁場)可以同時滿足上述的三個條件(特別是在加速振動/旋轉狀態),因為高能/高頻電磁場跟局部真空能量態有強互動關係。 一旦讓帶電系統(高能電磁場產生器)進行超高速繞軸迴旋(旋轉)和超高頻振動(諧振/突然的振動),機身外部的特定位置就會發生真空極化。
透過超高速旋轉和超高速振動,機身表面附近(真空邊界之外)的真空波動就會達成一致,形成局部真空極化。飛行器因此可以輕易"划過"虛空(真空內的空白空間)負壓(排斥性引力)。換句話說,虛空在飛行器內形成一股吸力。
這種飛行器的核心關鍵技術是有能力控制帶電表面的加速振動和旋轉;尤其是要有能立快速加快/減少變帶電表面的振動以及或迴旋(繞軸旋轉)速度。在這種條件下,我們可以延緩熱力學平衡介入系統的時間並且引發異常的物理效應(例如減少慣性或重力質量)。更重要的是,它要有能力使用葛森斯坦效應(Gertsenshtein Effect),也就是透過高頻電磁輻射產生高頻重力波。
這種高頻重力波可以改變機身周圍的重力場,進而推動飛行器。
關於慣性(重力)質量減少的數學公式,我們可以參考早坂秀雄教授和竹內榮教授在1989年12月於物理評論快報期刊發表的論文。他們在研究中發現:如果陀螺儀垂直擺放並且向右旋轉,陀螺儀的重量會些微減少,但是向左旋轉卻不會減少。當時這兩位論文作者沒辦法說明這種奇特現象背後的物理學原理。後來其他人做了幾次沒有結果的實驗(最近一次的實驗也同樣沒結果。)這些實驗宣告早坂教授等人的實驗是無效或至少是有問題的。然而,其他人的實驗都沒有完全仿照早坂教授等人的實驗流程和實驗設計(尤其是在測試階段安裝在內部的高負壓真空腔)。
我們仔細觀察早坂教授等人用來表達陀螺儀重量減少的非零截距表達式。表達式上的因子有陀螺儀的質量、角轉動頻率和有效半徑。這些因子合起來就有可能產生局部量子真空效應,也就是負壓力(排斥性引力)。這是因為非零截距和福克-普朗克方程式的電子-質子熱平衡率(fep)相等。假設氫原子數量密度是40個原子/立方公尺與局部量子真空態相稱。
下列是用國際單位制寫下早坂教授等人發現的旋轉-重量減少表達式:
ΔW R(ω)=−2×10-10 M r eq ω kg m s-2 (公式 5)
ΔWR重量的減少量。M代表轉子的質量(單位是公斤) 。ω 代表旋轉的角頻率(單位是弧度每秒)。req代表相等的旋轉半徑(單位是公尺)。
我們可以從這條關係式當中看出,非零截距(2×10-10) 的單位是(1/s)。這個非零截距是迴旋-旋轉加速特有的物理現象,特別是系統突然大幅偏離熱力學平衡的時候會出現的物理機制。
我們可以進一步假設如果螺旋-轉子一致地振動(不是轉動)而且振動(諧振)頻率加速(因而讓轉子突然大幅偏離熱力學平衡),它可能產生類似旋轉加速的物理現象。我們可以寫成下列的公式(利用簡單維度分析):
ΔW R(v)=−f ep M Av v kg m s−2 (公式 6)
fep 代表福克-普朗克方程式的電子-質子熱平衡率 。Av代表振幅。 v 代表振動頻率(in 1/s)。
總結
本發明是一個利用慣性質量減少裝置的飛行器。飛行器包括一個內共振腔壁、外共振腔和微波發射器。外共振腔壁和內共振腔形成共振腔。微波發射器朝共振腔發射好幾道高頻電磁波, 導致外共振腔壁加速振動導致共振腔加速振動並且在外共振腔之外形成局部真空極化。
本發明的特點是提供一種利用慣性質量減少裝置而且飛行速度極快的飛行器。
圖紙
本發明的特點、原理和優點將會透過下列的描述、附加的專利申請範圍和圖紙進行更詳細的解說:
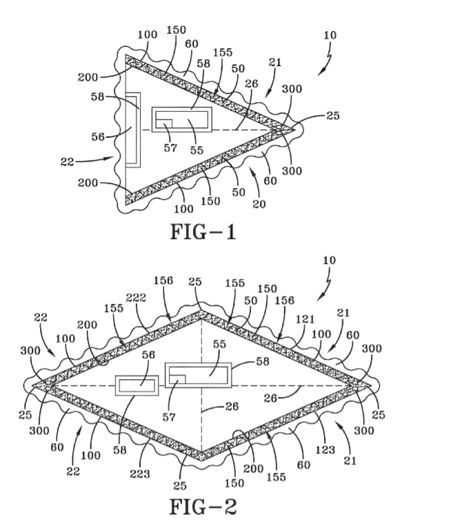
圖1是利用慣性質量減少裝置的飛行器的實施例。
圖2是利用慣性質量減少裝置的飛行器的另一個實施例。

描述
本發明的較佳實施例會藉由圖1和圖2進行說明。如圖1所示,利用慣性質量減少裝置的飛行器有下列零組件:外共振腔壁、內共振腔和微波發射器。外共振腔壁和內共振腔壁形成一個共振腔 。 微波發射器朝共振腔發射好幾道高頻電磁波,導致外共振腔壁加速振動並且在外共振腔壁之外形成一個局部極化真空。
本發明可以在宇宙空間、海中和地球的天空中使用。不過,本發明可以在任何需要慣性質量減少裝置或使用飛行器的環境中使用。
在較佳實施例中, 共振腔要注入惰性氣體。 雖然建議使用氙氣,不過任何種類的惰性氣體或性質相同的氣體都可以使用。惰性氣體是用來打破電漿的相變對稱並且放大系統的普里高津效應。另外,共振腔可以是一個環形導管。如圖1所示,共振腔的周圍有機組駕駛室、發電機系統、貨艙或任何其他的配置。機組駕駛室、發電機系統、貨艙都被一個法拉第籠包覆,用以阻隔所有的電磁輻射效應。
飛行器特別是外共振腔壁需要帶電。 另外,內共振腔壁需要絕緣以免發生振動 飛行器包括一個主機身。機身有一個主骨架和一個副骨架。另外,飛行器主機身的主骨架上面還可能有一個錐台或圓錐。在一個實施例當中,錐台可以繞自身的軸心旋轉或有能力轉動。
微波發射器是一種電磁場產生器。建議使用的電磁產生器可參考美國專利字號 No. 14/807,943的「電磁場產生器和產生電磁場的方法」。專利提交申請時間是2015年7月24日
此專利是來自同一位發明人。然而,微波發射器可以是任何一種可行的微波發射器或電波發射器。
如圖1和圖2所示,飛行器有好幾個微波發射器。微波發射器安裝在共振腔內部。發射器天線(高頻電波發射源)的電磁波頻譜範圍落在3億到3兆赫茲之間。多個微波發射器在共振腔內部的安裝方式要讓整個共振腔都帶電,進而讓外共振腔壁可以加速振動。
在其中實施例當中,飛行器利用微波在共振環狀腔共振腔 內引發的振動。微波能量和外共振腔壁振動的方法和效率叫做腔Q因子。內共振腔壁絕緣而且不會振動。參數可以寫成(能量儲存/能量損失) 比率,範圍落在104 到109 以上。參數變化取決於外共振腔壁以及機身外側蒙皮的製造材料是一般金屬(常溫的鋁或銅) 或低溫超導材料(釔鋇銅氧化物或鈮)。高能/高頻電磁場產生器可以減少機體的慣性質量並且在地球大氣內產生一個排斥性的電磁場。這個電磁場可以彈開上升/飛行路徑當中的空氣分子。當飛行器進入地球軌道之後,局部真空極化(量子場波動的調控/統合) ,排斥性重力效應(真空極化產生的負壓) 可以讓f飛行器迅速移動。 (機身造型可以是但不限於圓錐、透鏡狀三角形/三角翼)
利用慣性慣性質量減少的飛行器有可能發展成空天水三棲通用載具。它除了可以在天空和宇宙空間飛行,也可以變成速度超快的水下載具。(機身幾乎不受水的表面摩擦力影響)而且具備良好的隱形能力 (機身周圍電磁泡泡會讓雷達波或聲納信號非線性散射).這種機身周圍有真空電漿泡泡/甲殼包覆的三棲通用載具可以輕易通過空氣/宇宙空間/水等介質。載具產生的電磁場可以把機身周圍的空氣/水粒子彈開。真空能量極化可以產生負壓,讓載具輕易移動。
如圖2所示,在本發明的另一個實施例當中,飛行器邊緣部份是尖端部份的鏡面邊緣。如圖2所示,主骨架包括上主端骨架和下主端骨架。副骨架包括上副端骨架和下副端骨架副骨架和主骨架都有一個外共振腔壁和一個內共振腔壁。內外的共振腔壁形成一個共振腔 。 共振腔遮罩用來遮蔽、包裹和封裝飛行器、外共振腔 壁、內共振腔壁。 微波發射器對整個共振腔遮罩發射高頻電磁波,導致外共振腔壁或一部分的外共振腔壁開始振動並且在外共振腔壁的外部形成局部真空極化
在較佳實施例中,飛行器可以讓共振腔遮罩的不同部份振動來移動到不同的方向。假如飛行器要往上移動,頂部遮罩頂部尖端部份和機身頂部的邊緣部份會振動並且產生真空極化場,讓飛行器往上移動。
在本發明的較佳實施例當中, 「a 」「an 」「the 」 and 「said 」代表發明有一種以上的組件。組成、包括、有,代表可能有額外的組件。
雖然本發明透過某些較佳實施例的大量細節進行說明,其他的實施例也是可能的。因此,附加的專利申請範圍應該不限於申請書當中描述的較佳實施例。
專利申請範圍(4)
1.一台使用慣性質量減少裝置的飛行器有下列組件: 一個內共振腔壁、一個外共振腔壁。內共振腔壁和外共振腔壁形成一個共振腔 。微波發射器朝共振腔發射好幾道高頻電磁波發射器朝共振腔發射好幾道高頻電磁波,導致共振腔加速振動並且在外共振腔壁形成局部真空極化。
2.在範圍1的飛行器當中,共振腔內部要注入惰性氣體。
3.在範圍1的飛行器當中, 外共振腔壁有帶電。
4.在範圍1的飛行器當中,共振腔繞著軸心加速旋轉。
原文:
https://patents.google.com/patent/US20170313446A1/en?inventor=Salvatore+Pais
翻譯:Patrick Shih
團隊目前有推展許多的活動,如:建設全球光網格、真相揭露/外星/靈性講座、實體聚會、管理多種媒體及訊息傳遞平台及人員培訓—等。各類工作及活動仍需金錢來協助推動。
如果您支持事件也希望地球重獲自由,請和我們一起努力,或是支持我們:
捐款連結:http://golden-ages-donate.org
微信隨喜打賞

本文出處網址: https://www.golden-ages.org/2020/06/04/20200602-01/
轉載內容請保持內容完整並附上本文出處網址


你必須登入才能發表留言。