US10135366B2
發明人:薩瓦托· 派斯
現任專利所有權人:美國海軍部長
摘要
電磁場產生器包括下列零部件:外殼、靜電產生器、發電機組、熱傳導發電機和電動馬達。外殼內嵌有帶極性的多晶鐵電陶瓷材料。這種陶瓷材料具有強壓電效應,從而引發高頻振動。外殼還可以摻雜放射性元素,讓外殼在高頻振動的時候發出伽馬射線。安裝在外殼內的靜電產生器用於對外殼進行充電。安裝在球體內的發電機組可以用來產生熱能。熱傳導發電機是用於將發電機組產生的熱能轉化為電能,進而驅動電動馬達。電動馬達讓外殼以高角速度旋轉並且高頻振動,進而產生電磁場。
描述
政府利益聲明
本文所述的發明可由美利堅合眾國政府基於公務用途製造和使用,而且從過去到未來都無需支付任何使用授權費。
發明背景
迄今為止,超過10萬顆以上有潛在危險的小行星(近地天體)會經過地球軌道。目前科學家們只收錄並且跟蹤其中的11,000顆。假以時日,小行星就會一次又一次地撞擊地球。因此,我們需要一種有效的方法來抵擋或摧毀這些帶有潛在威脅的小行星。
目前有幾種改變小行星運行軌道的方法。第一種是靜電牽引,也就是在太空梭和小行星上面各自安裝一個連續電壓源(兩個都是2萬伏特)並且利用電源產生的靜電場緩緩吸引或推開小行星。第二種方法是重力牽引,也就是把太空梭停靠在小行星附近,讓太空梭的引力影響小行星的運行軌道。第三種方法是使用靜電牽引外加地球磁場,讓小行星更加偏離轉原本的運行軌道。第四種方法是朝小行星發射白色漆彈。白色可以提升小行星的光反射率/光動量,也就是利用太陽輻射推開小行星。另外還有人提出用動能改變小行星的運行軌道。這種方法是讓一台大型太空梭飛向小行星的切向軌跡然後以10公里/秒的相對速度撞擊小行星。小行星的角動量增加之後就會旋轉然後偏離原本的軌道。雖然核彈也可以摧毀來襲的小行星,但是核爆可能讓小行星分裂成碎片而且會造成輻射污染。
上述的方法只適用於平均直徑約100米的 「迷你小行星」。這些方法也需要大量的時間才能達到預期的結果(10到20年)。使用太空梭撞擊則不能保證瞄準精度和後續效果。
世界上有四種控制物質,也就是控制能量的基本力。這四種已知的基本力是強核力、弱核力、電磁力和重力。在這四種基本力當中,電磁力可以影響其他三者。靜電荷可以變成電(靜電)場。移動的電荷可以產生電場和磁場(電磁場)。加速電荷可以產生橫波的電磁輻射,也就是光。在數學和物理領域,電磁場強度可以表示為電場強度和磁場強度的乘積。 電磁場可以是能量和動量的載體,因此可以在最根本的層面和其他物理現象互動。(我們可以利用電磁力彈開飛往地球的小行星)
人工產生的高能電磁場與真空能量場(量子波動場域疊加形成的聚集/集合狀態)之間有強烈的交互作用。這種交互作用是一種新興的物理現象。換句話說,它可以在物理學界掀起一波革命,甚至促成力場和物質場的統一場理論。根據量子場理論,場之間的強作用是基於場之間的振動能量傳遞機制。
我們身邊一切的人事物,包括我們自己都是一種量子力場波動、振動、震盪的宏觀集合體。在某些條件下(例如讓帶電系統進行和超高速繞軸旋轉和超高頻振動),量子場域的某些特殊效應也可以適用在宏觀物理領域。閃電就是一種宏觀量子現象。風暴雲內數百萬冰粒碰撞產生了可觀的電荷。電荷產生的電磁場又會與真空能量場產生局部交互作用。古典電磁場(風暴雲的1億伏特電壓和快速氣流)與量子場疊加引發的真空能量場之間極強的交互作用可以解釋閃電的物理現象。
結合超高速迴旋(繞軸旋轉)和超高頻振動的電動力學有助於實現的物理學方面的突破,例如力場和物質場的統一場理論以及把量子真空電漿(一部分的真空能量場)變成一種能量來源或能量儲存槽。林登詹森太空中心的研發工程團隊已經深入探索過這種人為物理現象的科技可行性。他們透過量子真空電漿物理學的原理和高頻射頻/微波研發射頻共振空腔推進器。
總結
本發明是一種電磁場產生器和一種產生電磁場的方法。
本發明是一種電磁場產生器。電磁場產生器包括下列零部件:外殼、靜電產生器、發電機組、熱傳導發電機和電動馬達。外殼內嵌有帶極性的多晶鐵電陶瓷材料。這種陶瓷材料具有強壓電效應,從而引發高頻振動。。安裝在外殼內的靜電產生器用於對外殼進行充電。安裝在球體內的發電機組可以用來產生熱能。熱傳導發電機是用於將發電機組產生的熱能轉化為電能,進而驅動電動馬達。電動馬達讓外殼以高角速度旋轉並且高頻振動,進而產生電磁場。
本發明的特點是提供一種方法和裝置,用來抵擋或破壞可能會撞上地球碰撞的大型近地星體。本發明也可以抵擋或破壞其他類型的物體。
本發明的特徵是提供一種用來生成防禦護盾的方法和裝置。這種堅不可摧的護盾可以保護海、陸以及天基軍事和民用資產不受諸如反艦彈道導彈、回避雷達的巡弋飛彈、反裝甲頂攻飛彈之類的威脅。防禦護盾也可以抵銷日冕物質拋射的影響或保護保護重要的軍事衛星不被天基反衛星武器摧毀。此外,本發明的機電原理可以用來設計新型的能源產生機器。這種新機器的輸出功率可以遠遠遠高過目前利用既有方式的發電設備。我們可以打個比方來幫助大家理解本發明如何產生能量護盾。想像一把鍍鋁的帆布傘。這把傘被快速旋轉並且連續 “搏動”(先把傘全部打開然後快速且連續地稍稍把傘收起來)。我們讓傘快速開闔的同時用可攜式的直流電源讓帆布帶電。這把帶電的帆布傘可以輕易彈開射向傘的箭矢或弩箭。這是因為帆布傘擁有快速旋轉和脈動造成的動量;帆布的電磁場也可以形成額外的防護力。
圖紙
本發明的特點、原理和優點將會透過下列的描述、附加的專利申請範圍和圖紙進行更詳細的解說:

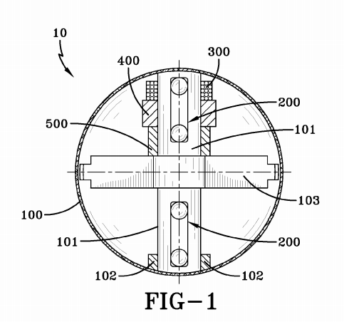
圖1是電磁場產生器的橫截面側視圖

圖2是電磁場產生器的橫截面底視圖

圖3是電磁場產生器的橫斷面側視圖

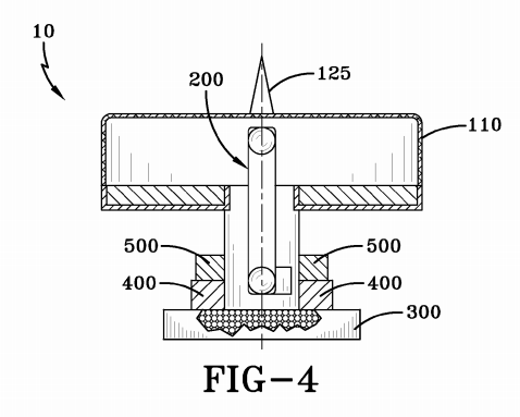
圖4是電磁場產生器(利用碟型外殼)的橫截面側視圖
描述
本發明的較佳實施例會透過下列的實例以及圖1-4進行說明。高能電磁場產生器包括外殼、靜電產生器、球床核反應爐(發電機組)、熱傳導發電機和電動馬達。外殼內嵌有多晶鐵電陶瓷材料。陶瓷材料經過極化處理,因而具有強壓電特性。這種材料通電之後會產生高頻振動。外殼的壓電振動頻率要錯開系統骨架的自然諧振頻率,以免機器共振影響結構完整性甚至導致機器毀損。安裝在外殼內的靜電產生器用來對外殼施加電荷。在外殼內的球床核分裂反應爐用於產生熱能。熱傳導發電機將球床核分裂反應爐產生的熱能轉換為電能並且驅動電動馬達。電動馬達也會輸出電壓到外殼,讓外殼以高角速度旋轉,以高頻率振動,並產生電磁場。
本發明可以在宇宙空間、海洋或陸地環境中使用。然而,本發明可用於任何需要使用電磁場產生器的環境。
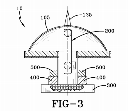
外殼可以是球形、半球形或碟盤狀。圖1和圖2當中的球形外殼可用於宇宙空間(天基系統)。圖3當中的半球形外殼可以在海上使用(海基平台)。圖4當中的碟狀外殼可以在陸地上使用(陸基平台)。如圖1和圖2所示,核卵石床反應堆、熱傳導發電機和電動馬達在天基平台中採用環狀配置。
按照本發明的概念,機器可以產生1024瓦特/平方米(或更高)的超高電磁場強度(單位面積能量流動率)。另外,陸基和海基平台可以利用特別設計的幾何配置(從外殼中伸出的尖銳的端部突起)外加結合將壓電效應與梅斯堡效應(外殼的高頻振蕩/振動引起的無反衝伽馬射線發射)產生一個電漿旋渦護盾。電漿旋渦護盾可以大幅強化機器產生的電磁場,進而提升電磁防護罩的防禦力。
外殼還可以嵌入放射性元素,讓外殼進行高頻振動的時候產生高能伽馬射線。外殼可由嵌入在鋁基體內的環氧樹脂陶瓷複合材料制成。嵌入到外殼內的晶體模塊是多晶鐵電陶瓷材料。在較佳實施例中,該陶瓷材料是經過極化處理的鋯鈦酸鉛。機器運轉的時候,來自電動馬達的電壓施加到鋯鈦酸鉛晶體模塊上,導致外殼開始振動。外殼的振動進一步使晶體模塊因為壓電效應輸出電壓。為了獲得最佳效果,外殼內部可以乾燥的純化六氟化硫或氮氣以及二氧化碳的混合氣體加壓至約20巴。
如圖1所示,當本發明使用球形外殼或安裝在天基平台的時候,電磁場產生器的所有零部件都要安裝在外殼內部,以免零部件受到由於外殼表面高壓靜電場影響。全部的電磁能量通量密度都會被引導到外殼的外側,讓系統可以用最大的電磁線動量密度阻擋物體。例如但不限於飛往地球的小行星或任何類型的射彈。
如圖1和圖2所示,球形外殼還可以包括充當支撐結構,用來放置在球形外殼內的所有零部件。支撐結構可使用低摩擦軸承組裝,讓支撐結構與球面外殼內的所有零部件一起在球面外殼內旋轉。電動馬達透過驅動軸將機械動力傳遞給直接連接到球面外殼內部的十字形支撐框架。在較佳實施例中,由於球形外殼帶高電荷,支桿框架要用高強度的非導電材料製作,例如石墨烯和碳納米管或碳強化石墨環氧樹脂複合材料。然而支撐框架也可以用其他可行的材料製作。添加劑制造技術也可以用來製造支撐結構。
在本發明的另一個實施例中,球形外殼的陶瓷-鋁複合材料可以摻有放射性元素,但不限於鈷-57、鐵-57或其他可行的放射性金屬。放射性金屬可以讓外殼在高頻振動的時候引發梅斯堡效應(伽馬射線的無反衝發射)。本實施例還可以使用半球形外殼和碟盤外殼。
本發明採用球形外殼或安裝在天基平台的時候還可以加裝輔助推進裝置(沒畫在圖紙上),讓護盾裝置前往出現威脅的區域。輔助推進裝置可以是化學推進裝置、核能推進裝置或其他可行的推進裝置。輔助推進裝置要安裝在法拉第籠裡面。由於天基平台沒有裝置可以抵消旋轉外殼產生的扭矩,它在外太空運轉的時候會像旋轉的陀螺一樣曲線平移(角動量守恒引起的位移)。
輔助推進裝置可以利用這種運動來進行操縱。在另一個實施例中(沒畫在圖紙上),球形外殼可以設計成兩個旋轉方向相反的半球體,消除天基平台宇宙空間中的位移。
如圖3和圖4所示,在如前所述的較佳實施例中,半球形外殼和碟盤外殼可以向外延伸出尖銳的點狀突起或尖刺。當機器運轉的時候,突起物或尖刺的緊鄰區域內的空氣受到強大的靜電應力,進而開始電離。裝置產生的電磁場使電離空氣加速,從而產生電暈(電子和離子)風場。當中性空氣進入電離區域之後,電暈風場就會進一步地增強。電離空氣和中性空氣混合之後開始旋轉,形成一個電漿旋風並且在外殼形成一個額外的防護罩。在陸基和海基平台上,核電機組可以用燃氣渦輪發電機代替。然而,在所有實施例中,本發明可以使用任何實際可行的發電機組。
靜電產生器建議是珠鏈式靜電加速器,也可以是改進型的范德格拉夫起電機。如果使用珠鏈式靜電加速器,充電帶要換成由金屬顆粒或由絕緣鏈接的金屬板組成的鏈子,金屬板運轉過程中會電場而帶電。
量子真空電漿是電漿宇宙的電子黏膠。卡西米爾效應、蘭姆位移和自發輻射都可以證明量子真空電漿存在。 電磁場最強的的區域當中,物質跟量子真空電漿的互動越多,量子真空電漿粒子就越容易進入現實世界(從電子和正電子的狄拉克之海)並且形成更高的能量密度。量子真空電漿可以增強高能電磁場產生器的能量等級並且進行能量通量增強。
量子真空電漿會在系統周圍形成了一個額外的防禦層,增強護盾的防護效果(雖然這些 「虛擬 」粒子的作用時間很短,但是它們真的可以和現實世界互動)。系統在運作的時候,系統產生的高能電磁場與真空能量場(所有量子場波動疊加的聚合狀態)產生強交互作用並且擾局部的時空。真空能量密度來自量子真空-零點波動、量子高能動力學中的膠子和夸克凝聚體、新發現的希格斯場(高達的1260億電子伏特)以及其他尚未發現的場(由超對稱性產生)。
本系統所達到的最大強度的主要物理公式是由坡印廷向量的大小來描述的。我們可以用相對論的形式(用相對論電動力學/電磁場理論推導)寫成:
S max =f G γ 2(σ2/ε0)[R r ω+R v ν+v R] (公式 1)
fG代表幾何形狀系數(碟盤外殼是1、球形外殼是⅔、半球形外殼為⅙)。γ是相對論拉伸系數 。
σ代表表面電荷密度(總電荷除以表面積)。ε0為自由空間的電容率,Rr代表旋轉半徑。ω代表旋轉的角頻率(單位為弧度每秒)。Rv代表振動(諧波振蕩)振幅。ν代表振動的角頻率(單位為赫茲)。vR代表曲線平移速度(透過加裝在系統上的推進裝置獲得。如果系統沒有加裝抵銷扭距的裝置,系統本身會產生類似旋轉陀螺的曲線運動)。假設我們讓一個一個球型外殼在不受限制的情況下旋轉,σ=50000庫侖/平方公尺。球型外殼(迴旋/繞軸旋轉)的半徑為2米,角速度為30000轉/分,我們可以產生1024瓦特/平方米的電磁場強度(Smax=單位面積能量流動率)(這個值不造成任何量子真空電漿交互作用)。如果我們讓球形外殼同時高速旋轉和高頻振動(突然的搏動/諧波振蕩),振動頻率在109至1018赫茲(以上),我們可以得到1024至1028瓦特/平方公尺(以上)的Smax強度。這種超強電磁場可以抵擋飛往地球的小行星。
如果我們忽略旋轉和曲線平移的情況下加快振動的角頻率(max=Rvν2),公式1就會變成(注意角振動加速度的內在意義):
S max =f G γ 2(σ2/ε0)[(R vν2)top] (公式 2)
Top代表帶電系統的加速運行時間。我們在實驗室環境中可以實現與高能量子真空場的波動疊加(宏觀真空能狀態)的局部強交互作用。做法是讓些微帶電的物體進行超高速迴旋和超高頻振動。這種方式可以實現高度的真空能量極化。
由於普通物質和量子真空電漿體/真空能量場在外殼表面附近的表現出極強的交互作用(尺度是普朗克長度),本發明可以實現力場和物質場的統一。 一旦帶電系統同時進行超高速繞軸旋轉(自旋)和超高頻振動(諧波振蕩/搏動),就會引發這些交互作用。
到目前為止,保護地球免受小行星撞擊或空爆流星的方法是動能撞擊器。假設動能撞擊器的質量大約是103公斤,而阿波菲斯(一個潛在危險的已知小行星)約為1010公斤。根據線性動量守恆,我們可以寫出下列公式:
(M A +M KI)Δv=k(M KI)(u KI) (公式3)
Δv代表撞擊器撞擊小行星之後的偏轉速度。uKI代表動能撞擊器和小行星之間的相對速度。k代表撞擊系數(假設撞擊效果是100%,撞擊係數就是1)。假設uKI的標稱值為10 km/s,偏轉速度就是0.001 m/s。如果使用的設備是高能電磁場產生系統,公式3的右側就會變成[((Smax/c2)VolS]。c代表自由空間中的光速。假設Smax值為1024瓦/平方公尺。系統體積(VolS)為103立方公尺,小行星的偏轉速度就會變成1m/s。任務效率足足提高了1000倍。
生成超高強度電磁場的方法包括向嵌入多晶鐵電陶瓷材料的外殼充電,使該材料具有強壓電效應特性,從而誘導高頻振動,產生熱能,將熱能轉換為電能,並通過電能使帶電的外殼旋轉,從而產生電磁場。
本發明搭載在天基平台的時候是採用球形外殼(如圖1和圖2所示)。所有的子系統都被安裝在球形外殼內,因此出不受外殼表面的靜電場影響(外殼內部的電場E內部為零)。整個電磁(EM)能量通量密度(單位面積外殼的能量流的時間變化率)都是向外的。這個最大線性動量電磁場可以阻擋飛往地球的殺手級小行星。
最大的線動量密度是最大電磁強度除以光速的平方(Smax/c2)。系統仍然可以對小行星(或其他來襲的威脅)造成相當大的推力(因為S=1024瓦/平方公尺)。一旦帶電物質進行受控的加速運動(最好是加速自旋和/或加速振動),就可能產生這種高強度的電磁能量通量(S)值。2015年,本發明人在《國際太空科學與工程期刊》發表一篇通過同行評審,題為 《高能電磁場產生器 》的論文。如圖1和2所示,在較佳實施例中,高能電磁場產生器的主要部件都安置在球形外殼的內部。兩個高電荷靜電產生器(將球型外殼快速充電至最佳運行狀態);核裂變球床反應爐作為主要熱源;熱傳導發電機將反應爐產生的熱能轉換為高速電動馬達所需的電能,同時供電給直流電源。直流電源供電給靜電產生器,並且讓嵌入鋁基體複合外殼中的鋯鈦酸鉛晶體進行壓電效應和產生機械振動。電動馬達讓連接球形外殼的十字形支桿結構進行高角速度旋轉。一個集成的子系統-絕緣支撐結構101可用於安裝所有高能電磁場產生器的子系統。它透過低摩擦軸承球面外殼連結並且一起旋轉。本發明不加裝抵銷扭力的裝置,因為扭力可以在Smax公式中提供曲線平移速度。
天基平台需要加裝化學火箭或核能輔助推進裝置(沒畫在圖紙中)。輔助推進裝置把護盾系統引導至接近小行星(或其他來自外太空的威脅)的位置,從而使高能電磁場產生器發揮完整的防禦效果。該裝置需要用法拉第籠封裝。由於天基平台沒有裝置可以抵消旋轉外殼產生的扭力,天基平台會像旋轉的陀螺一樣弧形平移(角動量守恒產生的位移)。輔助推進裝置可以利用這種曲線運動進行移動。另外可以兩個旋轉方向相反的半球形外殼組成球面外殼,從而抵銷系統在與宇宙空間中的位移。兩組靜電產生器是珠鏈型的,也就改良版的范德格拉夫起電機。機器內的起電帶改成用絕緣尼龍鏈連結的金屬顆粒(或金屬板)鏈條。金屬板在電場中會帶電荷。比起使用范德格拉夫起電機,5萬伏特的直流電加上珠鏈式靜電產生器可以產生超過3000萬伏特。為了達到最佳的充電效果,球形外殼的內部必須用乾燥的純化六氟化硫或氮氣和二氧化碳的混合氣體(80%的N2和20%的CO2)將外殼加壓至20巴。電腦快速成型和3D列印之類的先進增層製造法可以讓靜電產生器和起電機實現模組化和小型化。
為熱傳導發電機提供熱能的核分裂反應爐是一種球床反應爐,球床反應爐的燃料是網球大小的鈾球(9克的鈾238)。反應爐的機身採用小型、模組化而且安全的小型緊湊封裝。這是一種經過驗證而且成熟的核能發電技術。它可以提供100萬至1000萬瓦的功率。輸出功率取決於系統需要的電磁場強度。球床反應爐是用氦氣冷卻的封閉式系統。它利用子系統排出氦氣吸收的過多熱量然後讓氦氣循環回到球床反應爐。球床反應爐加熱過的氦氣透過渦輪(沒畫在圖紙上)和驅動軸帶動熱傳導發電機渦輪。
一台高速變頻電動馬達透過驅動軸向球形外殼結構內部的十字支撐框架提供機械動力。由於球形外殼具有高壓電荷,支撐框架的製作材料必須是高強度的非導電材料。例如石墨烯和碳納米管或碳強化石墨環氧樹脂複合材料組成的緊密網絡。支撐框架可以用增層製造法來製作。
在較佳實施例中,球形外殼是在鋁基體中嵌入環氧樹脂-陶瓷粉末(C-PLY碳纖維增強材料)。這種組合既具有鋁的高導電性,又具有環氧樹脂-陶瓷複合材料的高電容性。電荷(Q)是電容(C)和電壓(V)的乘積,為了避免因電擊穿引起的電暈放電(當本發明搭載在地基平台的時候),乾燥空氣中的電場必須保持在3×106 伏特/公尺以下(在宇宙的真空環境當中,容許值可以到106 伏特/公尺)。為了產生超高電荷,系統必須使用超大容量的電容。如果外殼是100的球形,我們可以用C=4πε0εrR計算。R代表球體半徑。ε0代表自由空間的電容率。εr代表相對電容率。如果有C-PLY碳增強材料,相對電容率可以達到1018。
為了善用球狀反應爐產生的超高能量,球型外殼要嵌入多晶鐵電陶瓷材料(鋯鈦酸鉛)。這種材料經過極化處理,因此具有強壓電特性。一旦直流電源對鋯鈦酸鉛晶體模塊施加電壓,球形外殼就會開始振動,進一步增強晶體在自然諧振頻率輸出的電壓。晶體的振動頻率務必要錯開外殼/結構框架的共振頻率,以免損害系統的結構完整性。球形外殼的陶瓷-鋁複合材料可以進一步添加如鈷-57或鐵-57之類的放射性金屬元素。放射性金屬可能誘發梅斯堡效應,也就是伽馬射線(高能光子)的無反衝發射。梅斯堡效應將把系統產生的電磁能量強度放大到更大的數值(高能光子攜帶相對論動量)。根據D.A.BD.A.A.Brady等人在美國航空航太聯合推進會議發表的論文利用射頻測試裝置產生不尋常的推進力,用低推力扭擺進行測量。2014-4029射頻/微波驅動的振蕩源也可以產生梅斯堡效應(如果這種震盪源可以產生更好的壓電效應,可以改用這種震盪源。
在本發明的較佳實施例當中, 「a 」「an 」「the 」 and 「said 」代表發明有一種以上的組件。組成、包括、有,代表可能有額外的組件。
雖然本發明透過某些較佳實施例的大量細節進行說明,其他的實施例也是可能的。因此,附加的專利申請範圍應該不限於申請書當中描述的較佳實施例。
申請範圍
1. 電磁場產生器包括下列零部件:外殼、靜電產生器、發電機組、熱傳導發電機和電動馬達。外殼內嵌有帶極性的多晶鐵電陶瓷材料。這種陶瓷材料具有強壓電效應,從而引發高頻振動。外殼還可以摻雜放射性元素,讓外殼在高頻振動的時候發出伽馬射線。安裝在外殼內的靜電產生器用於對外殼進行充電。安裝在球體內的發電機組可以用來產生熱能。熱傳導發電機是用於將發電機組產生的熱能轉化為電能,進而驅動電動馬達。電動馬達讓外殼以高角速度旋轉並且高頻振動,進而產生電磁場。
2. 申請範圍1的裝置其中使用球形外殼。
3. 在申請範圍2當中的高能電磁場產生器包括兩個靜電產生器。
4. 在申請範圍3當中,兩個靜電產生器、發電機組、熱傳導發電機和電動馬達被安狀在球形外殼內。
5. 在申請範圍3當中,外殼還可以嵌入的放射性元件,讓外殼在高頻振動的時候產生高能伽馬射線。
6. 在申請範圍1當中,外殼為半球形。
7. 在申請範圍6當中,外殼還可以嵌入放射性元素,這讓外殼在高頻振動的時候產生高能伽馬射線。
8. 在申請範圍7當中,外殼可以加裝延伸突起物,讓突起物周圍的空氣受到靜電應力而開始電離。
9. 在申請範圍1當中,外殼也可是碟盤結構。
10. 在申請範圍9當中,外殼可以加裝延伸突起物,讓突起物周圍的空氣受到靜電應力而開始電離。
11. 在申請範圍9當中,外殼還可以嵌入的放射性元件,讓外殼在高頻振動的時候產生高能伽馬射線。
12. 一種產生超高強度電磁場的方法如下: 對嵌有多晶鐵電陶瓷材料的外殼施加電荷。由於陶瓷材料具有強壓電特性,通電之後會產生高頻振動。振動會生成熱能。熱能再轉換為電能。利用電能帶動有電荷的外殼旋轉,從而產生電磁場。
原文:
https://patents.google.com/patent/US10135366B2/en?inventor=Salvatore+Pais
翻譯:Patrick Shih
團隊目前有推展許多的活動,如:建設全球光網格、真相揭露/外星/靈性講座、實體聚會、管理多種媒體及訊息傳遞平台及人員培訓—等。各類工作及活動仍需金錢來協助推動。
如果您支持事件也希望地球重獲自由,請和我們一起努力,或是支持我們:
捐款連結:http://golden-ages-donate.org
微信隨喜打賞

本文出處網址: https://www.golden-ages.org/2020/06/06/20200606-01/
轉載內容請保持內容完整並附上本文出處網址
